|
Эксперимент: МАК
КВАДРУПОЛЬНЫЙ МАСС-СПЕКТРОМЕТР
ИЗМЕРЕНИЕ НЕЙТРАЛЬНОЙ И ИОННОЙ КОМПОНЕНТ ВЕРХНЕЙ АТМОСФЕРЫ МАРСА
Основные научные задачи:
изучение состава верхней атмосферы и ионосферы Марса;
измерение высотного профиля нейтрального и ионного состава атмосферы;
измерение и уточнение изотопных отношений О17/O18, Ne20 /Ne22 , Ne20 /Ne21 , Ar36 /Ar38
измерение сезонных и суточных вариаций состава верхней атмосферы и ионосферы Марса.
Прибор : масс-спектрометр квадрупольного типа, работающий в режимах регистрации ионов и нейтральных атомов
| Основные характеристики:
| |
| |
| диапазон атомных масс | 1-60 (а.е.м.) |
| разрешение | R= M |
| динамический диапазон | 107 |
чувствительность nmin (см-3 ) для ионов для нейтралов | 10-5 104 |
| время измерения одного спектра | 1с |
| масса [кг] | 10 |

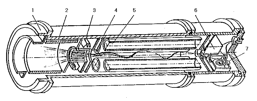
СХЕМА АНАЛИЗАТОРА МАСС
1 - корпус, 2 - электростатические линзы, 3 - катод, 4 - ионизатор,
5 - стержни, 6 - отклоняющий электрод, 7 - канальный умножитель
Кооперация:
Россия, Финляндия
| Дополн. информ.: | Е.Н.Евланов (PI), bzubkov@romance.iki.rssi.ru
|
|