|
Эксперимент: МАРИПРОБ
СПЕКТРОМЕТР ЗАРЯЖЕННЫХ ЧАСТИЦ И МАГНИТОМЕТР
ИЗМЕРЕНИЕ ПАРАМЕТРОВ ИОНОСФЕРЫ МАРСА
Основные научные задачи: изучение ионосферы Марса и конвекции холодной плазмы в марсианской магнитосфере.
Прибор позволяет проводить измерения параметров ионосферы:
плотности электронов,
температуры электронов,
массового состава основных компонент,
полного вектора скорости дрейфа ионов
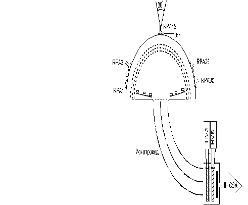
Комплекс МАРИПРОБ состоит из:
двух идентичных спектрометров энергии ионов - комплекс из 30 ионных ловушек - анализаторов с тормозящим потенциалом (RPA) без коллекторов, использующих один узел регистрации ионов на основе МКП с динамическим диапазоном по входному потоку 109;
сферического зонда ионов (SIP) - сферический анализатор с тормозящим потенциалом, работающий в плавающем режиме с периодическими измерениями интегральных ионных и электронных спектров.
| Основные характеристики:
| |
| |
| плотность электронов, ионов | 0,1-5 x 105 см-3 |
| температура ионов, электронов | <15000 К |
| скорость конвекции холодной плазмы | 10 м/с - 35 км/c |
угол зрения (FOV) | 4 х 3,14 . |
для одного RPA | 30о |
| для одного датчика | 190о. |
| массовый состав | H+, O+, O2+ |
| масса | 7.9 кг |

Кооперация:
Австрия, Бельгия, Болгария, Чехия, Германия, Венгрия, Ирландия, Россия, США.
| Дополн. информ.: | В.В. Афонин (PI), vafonin@mx.iki.rssi.ru
|
|