|
Experiment: MARIPROB
IONOSPHERIC PLASMA SPECTROMETERS
MEASUREMENTS OF MARS IONOSPHERE PARAMETERS
Main scientific objectives:Martian ionosphere and the cold plasma convection in the Martian magnetosphere.
MARIPROB measures the following ionospheric parameters:
electron number density;
electron temperature;
ion number density;
mass composition of major components;
full vector of the ion drift velocity.
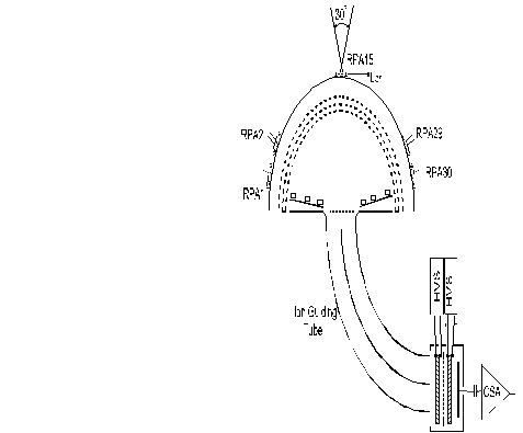
Instrument consists of:
2 identical ion energy spectrometers - a set of 30 Retarding Potential Analyzers without collectors sharing single MCP-based ion registration unit with 109 dynamic range for input ion flux;
Spherical Ion Probe (SIP)- a spherical retarding potential analyzer operating in a floating mode with periodic measurements of integral ion and electron spectra.
| Main characteristics:
| |
| |
| Ion, electron number densities, Ni, Ne | 0,1-5 x 105 cm-3 |
| Ion, electron temperature, Ti, Te | <15000 К |
| Cold plasma convection velocity | 10 m/s - 35 km/s |
Field of view(FOV) | 4 х 3,14 . |
FOV of one RPA | 30о |
| FOV of one head | 190о |
| Mass composition | H+, O+, O2+ |
| Mass of the instrument | 7.9 kg |

Cooperation:Austria, Belgium, Bulgaria, Czech, Germany, Hungary, Ireland, Russia, USA.
| Contact persons: | V. Afonin (PI), vafonin@mx.iki.rssi.ru
|
|